临淄区文化和旅游局政府信息公开指南
时间:2026-04-08
《临淄区文化和旅游局政府信息公开指南》(以下简称《指南》)由文化和旅游局根据《中华人民共和国政府信息公开条例》(国务院令第492号公布,国务院令第711号修订,以下简称《条例》)编制。需要获得本机关政府信息公开服务的公民、法人或者其他组织,建议阅读本《指南》。公民、法人或者其他组织可在临淄区人民政府网站(/)查阅本指南。本指南根据需要及时更新。
一、主动公开政府信息
(一)公开范围(包含信息分类和编排体系)
1.机构职能
主要包括:主要职能情况、机构领导及分工情况、内设机构及职能情况。
2.政策文件
主要包括:以本机关名义发布或者本机关作为主办部门与其他部门联合发布的规范性文件及其他行政文件;政策解读等。
3.规划计划
主要包括:国民经济和社会发展规划;本机关阶段性工作计划、工作重点安排等。
4.业务工作
主要包括:本机关各项行政许可的事项、依据、条件、数量、程序、期限以及申请行政许可需要提交的全部材料目录及办理情况;实施行政处罚、行政强制的依据、条件、程序以及本机关认为具有一定社会影响的行政处罚决定;重大行政决策事项的意见征集、结果反馈、执行效果评估情况;政府工作报告、年度重点工作、民生实事项目等重要部署执行情况;人大代表建议、政协委员提案办理结果;“双随机、一公开”监管信息。
5.统计数据
主要包括:本机关部门财政预算、决算报告。
6.其他
主要包括:《条例》第二十条规定本机关其他应该主动公开的政府信息。
(二)公开形式
1.临淄区人民政府网站(/)。
2.《临淄区人民政府公报》
(1)《临淄区人民政府公报》线上查阅
可登录临淄区人民政府门户网站“政府公报”专栏(/gongkai/channel_c_5f9f696d489871774b4da7ed_n_1605680376.4687/)查阅数字化政府公报,专栏提供了公报查询、下载和打印等功能。
(2)《临淄区人民政府公报》免费赠阅点(线下查阅)
赠阅点:区政务服务大厅,地址:山东省淄博市临淄区临淄大道971号
联系方式:0533-7177777,开放时间:8:30-12:00 13:30-17:00(工作日)
3.临淄发布(微信号:LZTV777)、临淄云APP(客户端下载链接:https://app.litenews.cn/download/M0RCQmx0ZWV0SEFHalErdFQxWkJVdz09)等其他互联网政务新媒体。
政务新媒体汇聚网址:/gongkai/channel_618245d96005c619aac00358/
4.其他:报刊、广播、电视等。
同时,在区档案馆(地址:齐都文化城6号馆;查档电话:0533-7220710;开放时间:周一至周五8:30-17:00)等场所设置政府信息查阅点。服务内容:查询、复制、打印政府信息。
(三)公开时限
本机关主动公开的政府信息,自政府信息形成或者变更之日起20个工作日内及时公开。法律、法规对政府信息公开的期限另有规定的,从其规定。
二、依申请公开
公民、法人或者其他组织可以向本机关申请获取主动公开以外的政府信息。
本机关政府信息公开申请受理机构(见本《指南》第四条)负责受理公民、法人或者其他组织向本机关提出的政府信息公开申请。
(一)申请接收渠道
1.当面提交
申请人可到临淄区文化和旅游局办公室现场当面提交申请。
地址:山东省淄博市临淄区临淄大道108号齐文化博物院办公区。
办公时间:8:30-12:00,13:30-17:00(工作日)。
联系电话:0533-7216607。
2.信函申请
申请人可通过邮政寄送方式向本机关提交申请。受理机构:临淄区文化和旅游局办公室
来信请寄:山东省淄博市临淄区临淄大道108号齐文化博物院办公区,临淄区文化和旅游办公室(收),同时须在信封左下角注明“政府信息公开申请”字样;邮政编码:255400。联系电话:0533-7216607
3.网上申请
临淄区人民政府网站(/)开通有政府信息公开申请网上提交渠道,受理向本机关提交的政府信息公开申请。申请人可登录临淄区人民政府网站,在政务公开专栏“依申请公开”页面(/jact/front/main.do?sysid=24),在线填写提交申请。
在线申请平台使用注意事项:(1)政府信息公开申请表应填写完整,联系电话、地址、信息获取方式要填写正确。(2)政府信息公开申请表内容应真实有效,同时申请人对申请材料的真实性负责。(3)依申请公开政府信息需提供有效身份证明。
本机关不受理通过电话方式提出的申请,但申请人可以通过电话咨询相应的服务业务。
(二)申请处理
本行政机关收到公民、法人或者其他组织提出的政府信息公开申请后,根据需要,可能会通过相应方式对申请人身份进行核对。
本行政机关收到申请后,将从形式上对申请的要件是否完备进行审查,对于要件不完备的申请予以退回,要求申请人补正信息。
对申请人提出的政府信息公开申请,本行政机关将根据不同情况分别作出答复。
本机关办理申请人政府信息公开申请时,能够当场答复的,将当场答复;不能当场答复的,自收到申请之日起20个工作日内予以答复;确需延长答复期限的,延长答复时间不超过20个工作日,并告知申请人。政府信息涉及第三方权益的,应当征求第三方的意见,征求第三方意见所需时间不计算在期限内。
本行政机关根据掌握该信息的实际状态进行提供,不对信息进行加工、统计、研究、分析或者其他处理。
(三)申请注意事项
1.申请获取政府信息,应当填写《临淄区政府信息公开申请表》,申请表可在本指南附件下载打印。
2.申请表应准确载明申请人的姓名或者名称、身份证明、联系方式、获取政府信息的方式及其载体形式。所需政府信息内容描述应当指向明确,建议详尽提供所需政府信息的名称、文号或者便于行政机关查询的其他特征性描述。
3.当面申请的,应当出示有效身份证件;通过邮政寄送提交申请的,应随申请表附有效身份证件复印件;网上申请的,应上传有效身份证件扫描件或照片。
4.收费标准
本机关依申请提供政府信息,按照《国务院办公厅关于印发<政府信息公开信息处理费管理办法>的通知》(国办函〔2020〕109号)和《山东省人民政府办公厅关于做好政府信息公开信息处理费管理工作有关事项的通知》(鲁政办字〔2020〕179号)收取信息处理费。
三、不予公开
1.依法确定为国家秘密的政府信息,法律、行政法规禁止公开的政府信息,以及公开后可能危及国家安全、公共安全、经济安全、社会稳定的政府信息,不予公开。
2.涉及商业秘密、个人隐私等公开会对第三方合法权益造成损害的政府信息,本机关不予公开。但是,第三方同意公开或者本机关认为不公开会对公共利益造成重大影响的,予以公开。
3.本机关的内部事务信息,包括人事管理、后勤管理、内部工作流程等方面的信息不予公开。
4.本机关在履行行政管理职能过程中形成的讨论记录、过程稿、磋商信函、请示报告等过程性信息以及行政执法案卷信息,不予公开。法律、法规、规章规定上述信息应当公开的,从其规定。
四、政府信息公开工作机构
临淄区文化和旅游局政府信息公开工作机构和申请受理机构为:临淄区文化和旅游局办公室。
办公地址:山东省淄博市临淄区临淄大道108号齐文化博物院办公区
邮政编码: 255400
办公时间:8:30-12:00,13:30-17:00(工作日)
联系电话:0533-7216607
传真:0533-7216607
电子邮箱:lzqwlxj@zb.shandong.cn(此邮箱仅供沟通联系使用,不接受政府信息公开申请)
五、监督和救济
公民、法人或者其他组织认为本机关提供的与其自身相关的政府信息记录不准确的,可以向本机关提出更正申请,并提供证据材料。本机关将根据申请作出相应处理,并告知申请人。
公民、法人或者其他组织认为本机关在政府信息公开工作中侵犯其合法权益的,可以向上一级行政机关投诉、举报,也可以依法申请行政复议或者提起行政诉讼。
政府信息公开投诉、举报受理机构为:真人电子游艺平台办公室政务公开办
办公地址:临淄区广场路1号
邮政编码:255400
办公时间:8:30-12:00 13:30-17:00(工作日)
联系电话:0533-7212036
行政复议受理机构:临淄区政府行政复议办公室
办公地址:临淄区牛山路9号
办公时间:8:30-12:00 13:30-17:00(工作日)
邮政编码:255400
联系电话:0533-7221314
行政诉讼受理机构:临淄区人民法院
办公地址:临淄区桓公路113号
办公时间:8:30-12:00 13:30-17:00(工作日)
邮政编码:255400
联系电话:0533-7181802









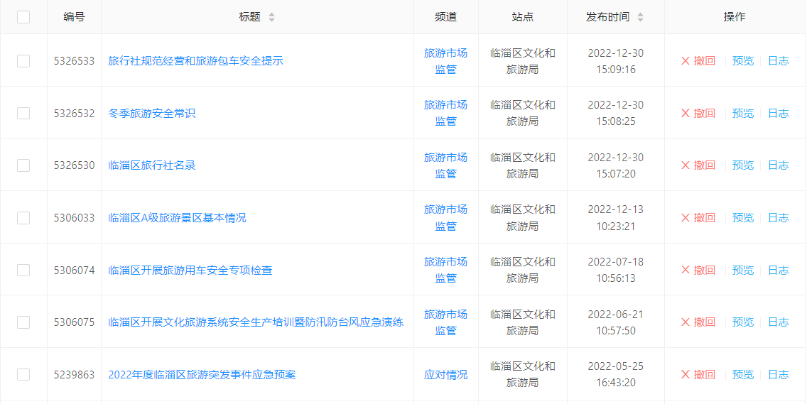
图2.业务工作信息截图
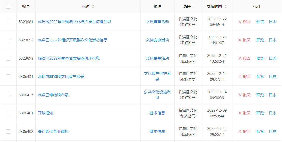
图3.公共文化体育信息截图

